Share on Google+Share on FacebookShare on LinkedInShare on TwitterShare on DiggShare on Stumble Upon
Custom Search
 
  

 
In the top and bottom views, its easy to see that the right-hand vertical line represents the right side and the left-hand vertical line, the left side. But you might have to think a minute to realize that the upper horizontal line in the top view represents the back face of the block, while the upper horizontal line in the bottom view represents the front face of the block. Note, also, that there is a line that appears as a visible line in the top view and as a hidden line in the bottom view.

In the right side and left side views, you can readily see that the upper horizontal line represents the top of the block and the lower horizontal line, the bottom. But you may have to think a minute to realize that the left-hand vertical line in the right side view represents the front face of the block, while the left-hand vertical line in the left side view represents the back face. Again, there is a line that appears as a visible line in the right side view and as a hidden line in the left side view.

In the back view, the block is shown reversed, so that the cutaway part, which appears to the right in the front view, appears to the left in the back view. Similarly, the right-hand vertical line in the front view represents the right side of the block, while the right-hand vertical line in the back view represents the left side.

As a general observation, it is helpful in view analysis to note that in the top, bottom, and side views, the line that represents the front face of the block faces toward the front view of the block. Similarly, in the back view, the line that represents the left side faces toward the left side view of the block. This applies to third-angle projection only.

A point that constitutes a corner on an object is sometimes numbered for purposes of identification in various views of the object. In a particular view of an object, a corner point number may be visible, or it may be hidden, as shown in figure 5-18. In the upper left corner of the figure, there is an oblique projection of a block, with a corner numbered 2. You can see that this corner is visible in top, back, and left side views, but hidden in bottom, front, and right side views.

The rule for numbering is that for a hidden corner point, the number is placed within the outline, and for a visible corner point, outside the outline. You can see how the rule has been followed in figure 5-18.

A multi-view projection should contain only as many views as are required to describe the object fully. If you refer back to figure 5-17, you can see at once that the back view does not convey any information that is not available in the front view; the back view is therefore superfluous and should be omitted. The same applies to the bottom view, which conveys no information not available in the top view. Likewise, the left side view conveys no information not available in the right side view.

You have the choice of omitting either the top or bottom view and either the right side or left side view. One general rule in this instance is that a top view is preferable to a bottom view and a right side view, to a left side view; another rule is that a view with a visible line is preferable to a view with the same line shown as a hidden line. Both rules apply here to eliminate the bottom and the left side views. All you need here is a three-view projection showing the top, front, and right side views.

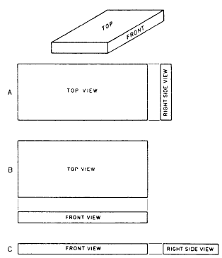
It is often the case that a two-view projection is all that is required. The view at the top of figure 5-19 shows a single-view projection of an object. It is obvious that a top view of this object tells you everything you need to know except the thickness; a right side view tells you everything you need to know except the length; and a front view tells you everything you need to know except the width. All you need to do, then, is to select a particular view and couple it with another view that gives you the dimension that is missing in the first view.

There are three possible two-dimensional projections of the object shown in A, B, and C. In the selection of one of these three, everything else being equal, the balance of the drawing would be the deciding factor. Either A or B appears better balanced than C, and between A and B, A would look better on a long oblong sheet of paper, and B, better on a shorter oblong sheet.

The object shown in figure 5-19 has a definitely designated top and front; it follows that the right and left sides are also definitely designated. This is the case with many objects; you have no choice, for example, with regard to the top, bottom, front, and back of a house.

Figure 5-19.-Two-view multi-view projections.

Many objects, however, have no definite top, bottom, front, or backas many types of machine parts, for example. With an object of this kind, you can select a surface and call it the front, and select another and call it the top, according to convenience. However, it is a general rule that an object should be shown in the position it customarily occupies.

One-view drawings are permissible for objects for which one view and such features as thickness or length, stated as a dimension or note, can completely define the object.



Managed Security Service Provider
 


Privacy Statement - Copyright Information. - Contact Us

Integrated Publishing, Inc. - A (SDVOSB) Service Disabled Veteran Owned Small Business