Order this information in Print

Order this information on CD-ROM

Download in PDF Format

     

Click here to make tpub.com your Home Page

Page Title: REMAINING INTERMEDIATE STAVES
Back | Up | Next

tpub.com Updates

Google


Web
www.tpub.com

Home

   
Information Categories
.... Administration
Advancement
Aerographer
Automotive
Aviation
Combat
Construction
Diving
Draftsman
Engineering
Electronics
Food and Cooking
Math
Medical
Music
Nuclear Fundamentals
Photography
Religion
USMC
   
Products
  Educational CD-ROM's
Printed Manuals
Downloadable Books
   

 

REMAINING INTERMEDIATE STAVES.Face the outside of the second stave and install 11 staves to the right of the second stave or in a counterclockwise direction around the bottom. Assemble the hook ladder, and hook it over the inside of the staves. As the staves are installed, stand on the ladder and fit all of the bolt heads squarely into the channels. All of the bolt heads must be fitted squarely

Figure 9-13.-I.ocation of the scaffold around the top chime of the staves.

into the stave joint channels to ensure proper tightening of the nuts.

LAST STAVE. - To assist in the installation of this stave, push all of the bolts (fig. 9-12, #2) in the chime of the bottom flush with the gasket to provide clearance for sliding in the last stave. Set the stave in position with the left seam outside the right seam of the next-to-last stave and the right seam inside the left seam of the first stave. Loosen the bottom chime nuts of staves #2 and #3. Lift the first stave #3 slightly, so the bottom chime of the stave #1 slips into place. Use driftpins and align the holes and the bolts in staves #1, #2, and #3. Install the nuts on the bolts in the chime of the bottom. Install 1-by 1 1/2-inch bolts (fig. 9-13, #2) in the third and twentieth bolt holes of the vertical seam, counting down from the top chime of every stave. These are scaffold-mounting bolts. Install the remaining bolts in all of the seams. Install the gaskets and washers with the cup side down over the gaskets

Figure 9-14.-Removing the timber blocking.

on all of the seam bolts. Apply the nuts with the rounded face down to all of the bolts. Do not tighten.

Tighten all of the chime bolts uniformly. Remove the blocking (fig. 9-14); place it under the chime of the bottom. Use a heavy, long timber as a lever and a short timber as a fulcrum to lift the chime. lighten all of the seam bolts. Be careful not to crush the gaskets. Apply a sealing compound to the inside perimeter of the bottom chimes of the staves.

DRESSING TOP CHIME.- Use the scaffold and install the strip gasket to coverall of the bolt holes (fig. 9-15). When one roll of gasket material is used up and

a new one is started, the overlap should extend over two bolt holes. Apply a sealing compound at each end of the overlap. Insert a wedge gasket underneath the gasket at each lap, formed by adjoining staves. Insert 1/2- by 1-inch bolts through the chime and gasket, in that order. The gasket will hold the bolts in place.

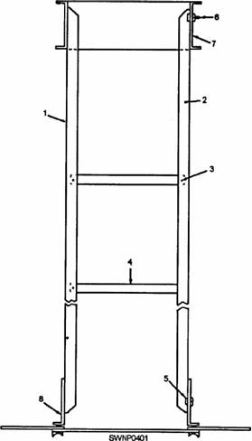
Ladder Assembly

The ladder consists of a bolted steel angle section. The top of the ladder is fitted with a manhole dome. The bottom of the ladder is fitted with ladder anchors, flanged, flat steel plates. The small end of the deck plates is bolted to the bottom flange of the manhole dome.

Place two ladder rails (fig. 9-16, #1 and #2) with similar bolting legs facing each other on top of several pieces of blocking of sufficient length to support both rails and spaced wide enough apart to insert a ladder

Figure 9-15.-Dressed top chime of the staves

Figure 9-16.-Deck support ladder.

step. Determine which end of the roils will be the bottom. Install the steps from the bottom toward the top of the ladder. Five steps make up the assembled section. Insert 1/2- by 1-inch bolts through the ends of the step and rails. Install a nut on each bolt protruding through the rails. Tighten the bolts after all of the steps are installed.

Face the 30 bolt hole flange of the manhole dome and slide it over the top of the rails. Use a driftpin and

Figure 9-17.-First deck plate installed.

align the three bolt holes at the top of the rails with similar holes in the side of the dome. Insert 1/2-by 1 Ml-inch bolts through the rails and the dome, in that order. Apply gaskets and washers to the bolts (fig. 9-16, #6). Make sure that the cup side of the washers is facing down over the gaskets. Apply the nuts to the bolts. Make sure that the rounded face of the nut is bearing against the washer. Tighten the bolts. Install a 28 bolt hole gasket (fig. 9-17, #1) on the inside face of the bottom flange of the dome. Insert 1/2- by 1 1/4-inch bolts through the flange and the gasket. The gasket will hold the bolts in place.

Install the ladder anchors (fig. 9-16, #8) at the bottom of the rails. Place the long leg of the anchor over the three bolt holes in the vertical leg of the rails. The short leg of the anchor faces outward. Adjust the outside bolting face of the short leg so it measures 9 feet 5 15/16 inches from the top flange of the dome. Insert two bolts through each anchor and rail. Apply the nuts to the bolts and tighten securely.

Figure 9-18.-Center support ladder installed.

Figure 9-19.-Deck plates ready for installation.

Line up two diametrically opposite lap seams (fig 9-18) in the tank bottom. Remove a nut from each bolt in the lap seams and the first bolt to the right and left of each lap seam. Raise the ladder assembly and se the anchors over the bolts. Apply the nuts and tighten

Top Deck Assembly

The assembled deck consists of 14 tapered, flat steel plates (fig. 9-19) with an integral formed flange along the right lap seam. The seams are identified rig and left, facing the large end All of the plates are interchangeable.

Of the 14 plates, three are special. Two plates a fitted with a tank thief and vent, and one plate is fitted with a liquid level indicator. Each deck plate has deck plate channel and a rafter bolt retainer angle assembled on it. The small end of the plates is bolted to the bottom flange of the dome. The large end bolted to the top chime of the staves.

Privacy Statement - Press Release - Copyright Information. - Contact Us - Support Integrated Publishing

Integrated Publishing, Inc. - A (SDVOSB) Service Disabled Veteran Owned Small Business