Custom Search
 
  

 
CHAPTER 10 AUXILIARY MACHINERY AND EQUIPMENT

Ships depend on the reliability of auxiliary systems. Proper maintenance and operation of auxiliary systems will enhance the performance of main propulsion machinery. As a Fireman, you will gain a thorough knowledge of main propulsion auxiliary machinery and systems. In this chapter, we will discuss the operation of refrigeration and air-conditioning equipment, air compressors, dehydrators, distilling plants, and purifiers. Other auxiliary machinery includes the steering gear, the anchor windlass and capstan, cranes, elevators, winches, and galley and laundry equipment.

REFRIGERATION

Most Navy refrigeration systems use R-12 as a refrigerant: Chemically, R-12 dichlorodifluoromethane (CC 1425F425). R-12 has such a low boiling point that it cannot exist as a liquid unless it is confined in a container under pressure. The cycle of operation and the main components of R- 12 systems are basically the same as those in other refrigeration and air-conditioning plants.

FUNDAMENTALS OF REFRIGERATION

Refrigeration is a general term. It describes the process of removing heat from spaces, objects, or materials and maintaining them at a temperature below that of the surrounding atmosphere. To produce a refrigeration effect, the material to be cooled needs only to be exposed to a colder object or environment. The heat will flow in its NATURAL direction-that is, from the warmer material to the colder material. Refrigeration, then, usually means an artificial way of lowering the temperature. Mechanical refrigeration is a mechanical system or apparatus that transfers heat from one substance to another.

It is easy to understand refrigeration if you know the relationships among temperature, pressure, and volume, and how pressure affects liquids and gases. Refer back to chapter 2 for a review.

REFRIGERATION TON

The unit of measure for the amount of heat removed is known as the refrigeration ton. The capacity of a refrigeration unit is usually stated in refrigeration tons. The refrigeration ton is based on the cooling effect of 1 ton (2,000 pounds) of ice at 32F melting in 24 hours. The latent heat of fusion of ice (or water) is 144 Btus. Therefore, the number of Btus required to melt 1 ton of ice is 144 x 2,000= 288,000. The standard refrigeration ton is defined as the transfer of 288,000 Btus in 24 hours. On an hourly basis, the refrigeration ton is 12,000 Btus per hour (288,000 divided by 24).

The refrigeration ton is the standard unit of measure used to designate the heat-removal capacity of a refrigeration unit. It is not a measure of the ice-making capacity of a machine, since the amount of ice that can be made depends on the initial temperature of the water and other factors.

MECHANICAL REFRIGERATION SYSTEMS

Various types of refrigerating systems are used for naval shipboard refrigeration and air conditioning. The one usually used for refrigeration purposes is the vapor compression cycle with reciprocating compressors.

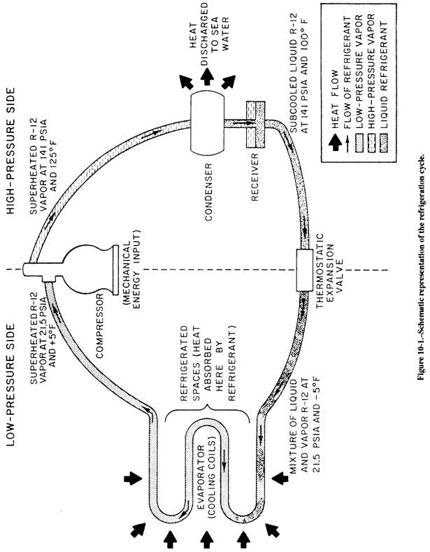
Figure 10-1 shows a general idea of this type of refrigeration cycle. As you study this system, try to understand what happens to the refrigerant as it passes through each part of the cycle. In particular, you need to understand (1) why the refrigerant changes from liquid to vapor, (2) why it changes from vapor to liquid, and (3) what happens in terms of heat because of these changes of state. In this section, the refrigerant is traced through its entire cycle, beginning with the thermostatic expansion valve (TXV).

Liquid refrigerant enters the TXV that separates the high side of the system and the low side of the system. This valve regulates the amount of refrigerant that enters the cooling coil. Because of the pressure differential as the refrigerant passes through the TXV, some of the refrigerant flashes to a vapor.

From the TXV, the refrigerant passes into the cooling coil (or evaporator). The boiling point of the refrigerant under the low pressure in the evaporator is about 20F lower than the temperature of the space in which the cooling coil is installed. As the liquid boils

 

 

and vaporizes, it picks up latent heat of vaporization from the space being cooled. The refrigerant continues to absorb latent heat of vaporization until all the liquid has been vaporized. By the time the refrigerant leaves the cooling coil, it has not only absorbed this latent heat of vaporization. It has also picked up some additional heat; that is, the vapor has become superheated. As a rule, the amount of superheat is 4 to 12F.

The refrigerant leaves the evaporator as lowpressure superheated vapor. The remainder of the cycle is used to dispose of this heat and convert the refrigerant back into a liquid state so that it can again vaporize in the evaporator and absorb the heat again.

The low-pressure superheated vapor is drawn out of the evaporator by the compressor, which also keeps the refrigerant circulating through the system. In the compressor cylinders, the refrigerant is compressed from a low-pressure, low-temperature vapor to a high-pressure vapor, and its temperature rises accordingly.

The high-pressure R-12 vapor is discharged from the compressor into the condenser. Here the refrigerant condenses, giving up its superheat (sensible heat) and its latent heat of condensation. The condenser may be air or watercooled. The refrigerant, still at high pressure, is now a liquid again. From the condenser, the refrigerant flows into a receiver, which serves as a storage place for the liquid refrigerant in the system. From the receiver, the refrigerant goes to the TXV and the cycle begins again.

This type of refrigeration system has two pressure sides. The LOW-PRESSURE SIDE extends from the TXV up to and including the intake side of the compressor cylinders. The HIGH-PRESSURE SIDE extends from the discharge valve of the compressor to the TXV. Figure 10-2 shows most of the components on the high-pressure side of an R- 12 system as it is installed aboard ship.



Managed Security Service Provider
 


Privacy Statement - Copyright Information. - Contact Us

Integrated Publishing, Inc. - A (SDVOSB) Service Disabled Veteran Owned Small Business