Custom Search
 
  

 

Position Indicator

The general-purpose bucket shown in figure 9-6 is normally used as a skid shovel. The multipurpose bucket shown in figure 9-7 serves as a skid shovel, but can also be used as a bulldozer, scraper, and clamshell.

Most front-end loaders are equipped with six bucket control lever positions, such as raise, hold, lower, float dump, and rollback. Dump and rollback can be used

Figure 9-11 . -Control levers.

at the same time with any other four positions. Also, most loaders have a position indicator and depth gauge indicator mounted on the bucket.

To set the multipurpose attachment as a bucket, the operator pulls the control lever back (fig. 9-11) until the

Figure 9-12.-Multiltipurpose bucket set in "bucket" position.

Figure 9-13.-Multipurpose bucket set in "scraper" position.

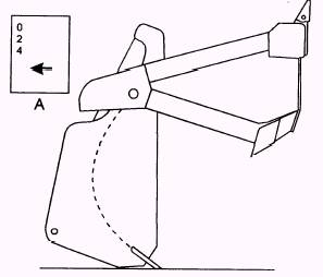
clamshell indicator is at the "O" setting on the clam product graphic (fig. 9-12).

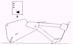
To set the multipurpose bucket as a scraper, you open the clamshell until the indicator points to 2 or 4 on the clam product graphic (fig. 9-13). The more the clamshell is open, the deeper a cut can be made.

To use the multipurpose bucket as a dozer, you open the clamshell until the clamshell indicator is at the bottom of the clam product graphic (fig. 9-14).

When using the multipurpose blade as a dozer, you can adjust the amount of cut by the pitch of the dozer

Figure 9-14.-Multipurpose bucket set in "dozer" position.

Figure 9-15.-Dozer blade tilt positions.

Figure 9-16.-Multipurpose bucket set in "clamshell" position.

Figure 9-18.-" V" method of loading.

blade. This is done by tilting the blade forward or backward, as shown in figure 9-15.

To use the multipurpose bucket as a clamshell, you open the clamshell until the clamshell indicator is at the bottom (fig. 9-16). Then you tilt the bucket forward all the way.

NOTE: Multipurpose bucket position indicators differ, depending on the manufacturer. Read the operator's manual for the type loader you are assigned to operate.

Figure 9-17.-Ramp construction for belowground excavation.

Figure 9-19.-Step-loading method.



Managed Security Service Provider
 


Privacy Statement - Copyright Information. - Contact Us

Integrated Publishing, Inc. - A (SDVOSB) Service Disabled Veteran Owned Small Business