Share on Google+Share on FacebookShare on LinkedInShare on TwitterShare on DiggShare on Stumble Upon
Custom Search
 
  

 
SILL FRAMING AND LAYOUT

The lowest horizontal wood frame structural member is the SILL, a piece of dimensional lumber laid flat and bolted down to the top of the foundation pier or wall. It is the first part of the frame to be set in place and provides a nailing base for the other adjoining members. It may extend all around the building, joined at the corners and spliced when necessary.

The type of sill assembly selected depends upon the general type of construction methods used in the framework. The method of framing

Figure 6-11.-Box-sill assembly for platform framing.

Figure 6-12.-Sill assembly in brick veneer construction.

the studs to the sill is called SILL ASSEMBLY. The BOX-SILL assembly shown in figure 6-11 is the type most frequently used in platform-frame construction. In this type, the ends of the joists are framed against a header-joist, which is set flush with the outer edge of the sill. The construction method for a sill assembly in which brick veneer is used as exterior siding (fig. 6-12) is similar to the box-sill assembly except that the sill is set in the foundation wall to allow enough space for the brick to rest directly on the wall.

Balloon-frame construction uses the T-SILL (fig. 6-13) and EASTERN (fig. 6-14) assemblies. Here, the studs are anchored on the sill and are continuous; that is, in one piece from sill to roof line.

Figure 6-13-T-sill assembly.

Figure 6-14.-Eastern sill assembly.

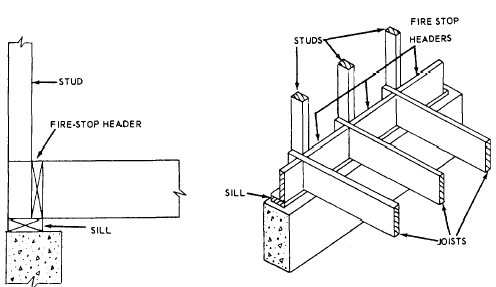
Figure 6-15.-Types of sills.

Other types of sill framing and layout are shown in figure 6-15.



Managed Security Service Provider
 


Privacy Statement - Copyright Information. - Contact Us

Integrated Publishing, Inc. - A (SDVOSB) Service Disabled Veteran Owned Small Business