Share on Google+Share on FacebookShare on LinkedInShare on TwitterShare on DiggShare on Stumble Upon
Custom Search
 
  

 
Finish Flooring

Finish flooring is broadly divided into wood finish flooring and resilient finish flooring. Most wood finish flooring comes in strips that are

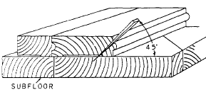
Figure 6-71.-Toenailing wood finish flooring.

side-matched; that is, tongue-and-grooved for edge-joining; some is end-matched as well. Wood flooring strips are usually recessed on the lower face and toenailed through the subflooring into joists, as shown in figure 6-71.

In Navy structures, wood finish flooring has been largely supplanted by various types of resilient flooring, most of which is applied in the form of 6 by 6, 9 by 9, or 12 by 12 floor tiles. Materials commonly used are asphalt, linoleum, cork, rubber, and vinyl. With each type of tile, the manufacturer recommends an appropriate type of adhesive for attaching the tile to the subflooring.

On other areas subject to a high degree of dampness, ceramic or glazed interior tile is most commonly used. Ceramic tiles are used to cover all or part of the bathrooms, shower rooms, and some kitchen floors.

Doors

Standard doors and combination doors (storm and screen) are millwork items that are usually fully assembled at the factory and ready for use in the building. All wood components are treated with a water-repellent preservative to provide protection against the elements. Doors are manufactured in different styles, as shown in figure 6-72.

Exterior doors, outside combination doors, and storm doors may be obtained in a number of designs to fit the style of almost any building. Doors in the traditional pattern are usually of the panel type (fig. 6-72, view A). A PANEL DOOR consists of stiles (solid vertical members), rails (solid cross members), and filler panels in a number of designs. Exterior FLUSH DOORS use a solid-core, rather than hollow-core type to minimize warping. (Warping is caused by a difference in moisture content on the exposed and unexposed faces of the door. ) Weatherstripping should be installed on exterior doors to reduce both air infiltration and frosting of the glass on the storm door during cold weather. Flush doors consist of thin plywood faces over a framework of wood with a wood block or particleboard core.

Figure 6-72.-Exterior doors: A. Traditional panel; B. Flush; C. Combination.

Figure 6-73-Interior doors: A. Flush; B. Panel (five-cross); C. Panel (colonial); D. Louvered; E. Folding (louvered).

Exterior doors are usually 1 3/4 in. thick and not less than 6 ft 8 in. high. The main entrance door is 3 ft wide, and the side or rear door is normally 2 ft 8 in. wide. The exterior trim used can vary from a simple CASING (the trim used around the edges of door openings and also as a finishing trim on the room side of windows and exterior door-frames) to a molded or plain pilaster.



Managed Security Service Provider
 


Privacy Statement - Copyright Information. - Contact Us

Integrated Publishing, Inc. - A (SDVOSB) Service Disabled Veteran Owned Small Business