Share on Google+Share on FacebookShare on LinkedInShare on TwitterShare on DiggShare on Stumble Upon
Custom Search
 
  

 
Diagonal Hatching in Isometric. Diagonal hatching on a sectional surface shown in isometric should have the appearance of making a 45-degree angle with the horizontal or vertical axis of the surface. If the surface is an isometric surface (one that makes an angle of 3516 with the plane of projection), lines drawn at an angle of 60 degrees to the horizontal margin of the paper, as shown in figure 5-45, present the required appearance. To show diagonal hatching on a non-isometric surface, you must experiment to determine the angle that presents the required appearance.

DIMETRIC AND TRIMETRIC PROJEC-TION. TWO other subclassifications of the

Figure 5-45.-An example of diagonal hatching in isometric.

axonometric projection category are dimetric and trimetric projections; however, these types are used less frequently than isometric projections and will not be discussed further in this training manual.

OBLIQUE SINGLE-PLANE PROJECTION

We have seen that an object may be drawn showing length and width on a single plane. Depth

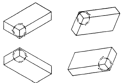
Figure 5-44 .-Various positions of isometric axes.

may also be shown on this single plane by constructing the receding projection lines of the object at an angle other than perpendicular to the plane of projection.

Figure 5-46 shows the same object by both orthographic and oblique projection. The block is placed so that its front surface (the surface toward the plane of projection) is parallel to the plane of projection. You can see that the orthographic projection shows only this surface of the block. The oblique projection, on the other hand, shows the front surface and also the top and side surfaces. The orthographic projection shows only two dimensions: length and width. The oblique projection shows three: length, width, and thickness. Oblique projection, then, is one method by which an object can be shown, in a single view, in all three dimensions.

There are two types of oblique single-plane projections: CAVALIER and CABINET.



Managed Security Service Provider
 


Privacy Statement - Copyright Information. - Contact Us

Integrated Publishing, Inc. - A (SDVOSB) Service Disabled Veteran Owned Small Business