Share on Google+Share on FacebookShare on LinkedInShare on TwitterShare on DiggShare on Stumble Upon
Custom Search
 
  

AIRCRAFT HYDRAULIC HOSE BURST TEST STAND (GREER)

The hose test stand shown in figure 5-16 is manufactured by Greer Hydraulics, Incorporated. This test stand is designed especially for proof pressure testing aircraft hose assemblies and is capable of developing static pressures up to 30,000 psi.

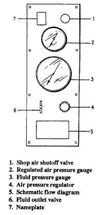
The high static pressures required for proof testing are produced by a booster pump powered by shop air having a pressure of 80 to 120 psi. The unit is mounted on four legs, which provide mounting holes for bolting it to the deck. Figure 5-17 shows the instruments and controls, and table 5-6 lists the functions of each. You should be familiar with these instruments and controls before using the test stand.

To operate the aircraft hydraulic hose test stand (Greer), follow the procedures described below. Before you operate the test stand, make the following checks and adjustments: Make sure that the reservoir is filled. Connect the shop air supply line to the stand and open the air shutoff valve. Turn the pressure regulator to the low-pressure position. There are no special starting instructions since the stand starts to operate as soon as air pressure is admitted into the circuit by opening the air shutoff valve. The stand may be warmed up by capping all pressure outlet ports, opening the fluid outlet valve, and allowing the pump to operate for 1 minute.

Installing Hose Lines For Test

With the air pressure reguIator set at zero, lift the cover to the open position. Select the proper size adapter (with O-ring) to fit the hose line to be tested, and install it in the pressure manifold outlet port. Connect one end of the test hose line to the manifold adapter. Plug the manifold ports not being used. Connect the bleed valve to the adapter. Connect a second adapter on the other end of the test hose. Close the Plexiglas cover before starting the test.

Test Procedures

Hose lines should be tested in accordance with the applicable military specification; for example, MIL-H-5593 or MIL-H-8794. Each hose specifi-cation gives proof test pressures and other pertinent data for that particular type hose. Static pressure is developed by closing the outlet valve and increasing pressure with the pressure regulator. The pressure in the test hose is indicated on the fluid pressure gauge. The red follower pointer will indicate the maximum pressure applied to the hose. This pressure may be increased or decreased by adjusting the pressure regulator.




Figure 5-17.Instruments and controls.

Table 5-6.Function of Controls and Instruments




Figure 5-18.Aircraft hose burst test stand (CGS Scientific). 

After the test is complete, the stand is stopped by slowly opening the outlet valve and decreasing the pressure with the pressure regulator. When the fluid pressure gauge reads zero, the Plexiglas cover may be raised, and the test hose is disconnected and removed.



Managed Security Service Provider
 


Privacy Statement - Copyright Information. - Contact Us

Integrated Publishing, Inc. - A (SDVOSB) Service Disabled Veteran Owned Small Business