Share on Google+Share on FacebookShare on LinkedInShare on TwitterShare on DiggShare on Stumble Upon
Custom Search
 
  

BALSA WOOD CORE. The repair shown in figure 14-17 is used when no gain in structural strength is desired, and it is only to be used for sealing holes of 1 square inch or less in external surfaces. The damaged area (1) should be cut out to a smooth circular or rectangular shape. A 3/8-inch minimum radius (2) must be provided at the corners of rectangular cutouts.

NOTE: This information applies to all repairs made to balsa wood core panels. In cutting out the damaged area, you must take care not to separate the metal faces from the core. You can accomplish this by using a very fine-toothed coping or hacksaw blade for straight cuts, and cylindrical saws (hole saws) for cutting holes or rounding corners.

After the damaged section has been cut out, file the edges smooth by using a fine cut file only. Then, inspect the area (3) for separation of the skin facing from the balsa wood core. If the facing has separated from the core, rebond the two surfaces, using the procedures outlined in the previous section on skin separation. Then, complete the repair by using the approved filler material and two fabric patches, as shown in (4) and (5) of figure 14-17.

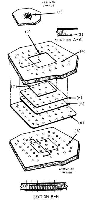
Figure 14-18 shows one flush-type balsa wood core repair that is used on puncture damages larger than 1 inch. To make this type of repair, cut out the damaged area (1) as previously described. After the damaged area has been cut out (2), cut back the inner metal face 1 inch and remove the core material. See (3) of figure 14-18.

Inspect for adhesion of the face to the core, and seal the exposed filler material to prevent the entry of moisture. Lay out the required rivet pattern and drill pilot holes in the panel. See (4) of figure 14-18.

NOTE: The rivet size, rivet spacing, and number of rows of rivets are given in the appropriate repair section of the applicable structural repair manual.

Next, prepare two patch plates; a wood, plywood, or phenolic tiller; and a metal filler. See (5), (6), and (7) of figure 14-18. The outer patch plate should fill the hole in the core, and the inner patch plate should overlap the hole in the core approximately 1 inch for each row of rivets.

Figure 14-17.Balsa wood repair with filler plug and fabric patch.

Locate the patch plates and wood filler. Using the pilot holes in the panel as a guide, drill pilot holes through the patch plates and wood filler. The patch plates and wood filler are then bonded to the panel using the specified adhesive. Next, locate the metal filler, and drill pilot holes through both patch plates and the wood filler.

All pilot holes are then size drilled and machine or press countersunk, as applicable. Complete the repair by installing the specified rivets. See (8) of figure 14-18.

 

Figure 14-18.Balsa wood repair with flush patch.

When aerodynamic smoothness is not desired, a nonflush patch such as the one shown in figure 14-19 can be used. Notice that this type of repair uses two patch plates, a wood filler, and nonflush rivets. Other-wise, the procedures described for the repair shown in figure 14-18 are applicable to this type of repair.



Managed Security Service Provider
 


Privacy Statement - Copyright Information. - Contact Us

Integrated Publishing, Inc. - A (SDVOSB) Service Disabled Veteran Owned Small Business