Share on Google+Share on FacebookShare on LinkedInShare on TwitterShare on DiggShare on Stumble Upon
Custom Search
 
  

Internal

The repair of internal structures concerns the repair or replacement of extruded parts used as stringers, webs used as bulkheads, and formed parts, such as ribs and formers.

After the damage has been inspected and classified, the next consideration is to plan the repair so that it may be assembled in the proper sequence, Before the removal, repair, or replacement of a structural member is undertaken, the adjacent structural members of the aircraft must be supported so that proper alignment is maintained throughout the operation.

STRINGERS. A stringer is a spanwise struc-tural member designed to stiffen the skin and aid in maintaining the contour of the structure. Stringers also transfer stresses from the skin to the bulkheads and ribs to which they are attached. Stringers are not continuous throughout the structure as are longerons and are not subject to as much stress. Stringers are made from both extruded and rolled sections, and are usually in the form of C-channels, angles, or hat sections.

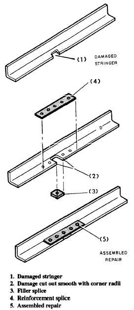
Figure 13-67 shows one method used in repairing a damaged stringer by patching. The repair consists of a reinforcement splice and a filler splice. The reinforcement splice should be long enough to extend a minimum of four times the width of the leg of the stringer on each side of the damaged area. The cross-sectional area of the reinforcement splice must be equal to or greater than the stringer itself. The damage is cleaned to a smooth contour with corner radii, and a filler of the proper thickness is prepared to fit in the cleaned area. If possible, you should always make both ends of the cutout midway between two rivets so that the existing rivet pattern can be maintained in the repair. Cut the filler splice one thirty-second of an inch shorter in length than the cutout section. This will allow a 1/64-inch clearance stringer between each end of the filler splice and the stub ends of the stringer. This eliminates the possibility of stress developing from contact between the two parts.

 

Figure 13-67.-Stringer repair by patching.

NOTE: The above repair is permissible when the damage does not exceed two-thirds of the width of one leg of the stringer and is not over 12 inches in length. When the damage is of such length that a single reinforcement splice would involve an excessive amount of material and work, a repair by insertion should be made. See figure 13-68.

SPARS. Spars (also called beams) are the main spanwise members of the wing, stabilizers, and other airfoils. They may run the entire length of the airfoil. Spars are designed primarily to take bending loads imposed on the wing or other airfoil.

The most common type of spar construction consists of extruded capstrips, a sheet metal web or plate, and a vertical angle stiffener. Since spars are very highly stressed members, their repair may not be permitted; and if permitted, must be made in strict accordance with instructions given in the structural repair manual, using the best possible workmanship. Figure 13-69 shows a spar web repair by insertion.

   

Figure 13-68.-Stringer repair by insertion.



Managed Security Service Provider
 


Privacy Statement - Copyright Information. - Contact Us

Integrated Publishing, Inc. - A (SDVOSB) Service Disabled Veteran Owned Small Business