Share on Google+Share on FacebookShare on LinkedInShare on TwitterShare on DiggShare on Stumble Upon
Custom Search
 
  

Blade Folding System Components

Hydraulic components of the blade folding system are conventional type, solenoid-operated selector valves, check valves, pressure reducers and snubber, sequence valves, and actuating cylinders. Of special interest are the safety valve, the blade positioner drive unit, the rotor coupling, the control lock cylinder, and the blade fold accumulator.

SAFETY VALVE. The safety valve is a two-position, motor-operated selector valve. The purpose of the unit is to prevent hydraulic pressure from entering the blade fold system during flight. The motor provides a camming action to move the poppet valve within the selector valve. With the rotor stopped, electrical interlocks allow the safety valve to send fluid to the blade folding system. This action occurs when the safety valve switch is placed in the OPEN position. In the CLOSED position, pressure is blocked at the pressure port. The system vents through the lock valve. The venting eliminates the possibility of damage to the system by thermal expansion of the hydraulic fluid. The safety valve will not close if the blade spread interlock relay malfunctions. The safety valve will not close if the blades are folded. The safety valve motor opens a limit switch. The switch cuts electrical power to the motor when the safety valve reaches the fully open position.

BLADE POSITIONER DRIVE UNIT. The drive unit is found on the upper surface of the main gearbox input cover. It consists of a gear train, a sequence valve, a tiller plug, a sight gauge, and a hydraulic motor. The gear train rotates because of the hydraulic motor. The gear train turns the rotary-wing head by running the rotor brake disc. The hydraulic disc motor operates only after the gear train engages the teeth of the rotor brake disc. Pressure is cut off to the blade rotation control valve and the motor by the sequence valve. This action occurs when the gear train has been operated to disengage the rotor brake disc.

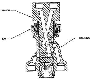
ROTOR COUPLING. The rotor coupling is found at the bottom of the rotary-wing shaft. It serves to transfer hydraulic fluid to the rotary-wing head for blade folding. Figure 10-14 shows a cross-sectional view of the coupling. The coupling consists of a spindle that revolves with the rotary-wing shaft. A stationary housing connects to hydraulic lines of blade folding components. Hydraulic fluid is sent through the rotor coupling, and then through the lock valve. Pressure is then sent to the manifold, to the damper-positioner shuttle valve, and to the damper-positioner sequence valves.

CONTROL LOCK CYLINDER. The control lock cylinder is on the No. 2 blade horn assembly rotary-wing head. During the fold cycle, the control lock cylinder locks the flight controls. This occurs only after the blade has been positioned. During the spread cycle, it unlocks the controls. A microswitch within the housing of the cylinder causes the CONT LOCKPIN ADV advisory light in the cockpit to light. In event of hydraulic malfunction, the control lockpin may be operated manually. This is done by turning a sector gear bolt on the aft end of the cylinder. The sector bolt rotates gear teeth on the end of the actuating piston shaft.

BLADE FOLD ACCUMULATOR. A blade fold accumulator is found inside of the rotary-wing sleeve of the No. 1 blade. It has a preload of 1,500-psi nitrogen pressure to maintain hydraulic pressure in the rotary-wing head. The pressure is necessary to keep the damper-positioners extended and the blade locked in the folded position. It serves to compensate for expansion and contraction of the hydraulic fluid because of temperature changes. It also dampens out pressure surges during fold and spread cycles.

AUTOMATIC BLADE FOLDING SYSTEM MAINTENANCE

Maintenance of the blade fold system consists of periodic inspection, lubrication, operational testing, and troubleshooting. Allowable maintenance at the organizational level includes alignment, adjustment, and the removal and installation of components. Parts



Figure 10-14.Rotor coupling.

replacement and cure date kits are available for intermediate-level repair of defective parts. Before removal of any component, secure the blades to prevent damage. Whenever any part of the system is repaired or replaced, the electrical portion of the system should be tested, as required by the MIM. Operationally check the entire hydraulic portion of the system to ensure proper sequence of operation. The hydraulic testing procedures discussed in the following paragraphs are used as an example. Always consult your MIM for correct procedures.

Charge the air accumulator with 1,500 psi of nitrogen, with the blades in the spread position. Connect a source of external hydraulic power to the utility, primary, and auxiliary hydraulic systems. Set pressure to 3,000 psi at approximately 3 gallons per minutes for the utility system. Set pressure to 1,500 psi for the primary and auxiliary servo hydraulic systems. Position the ACCESSORY DRIVE switch to ACCESS DR. The accessory drive light will light. At the start of the testing, make sure that PRI SERVO PRESS, AUX SERVO PRESS, ACCESSORY DRIVE, ROTOR BRAKE ON, and CHECK BLADE FOLD lights will light. The ACCESSORY DRIVE, FLIGHT POS, BLADE SPREAD, EXT PWR ON, PRI SERVO PRESS, and AUX SERVO PRESS lights should be lit. Visually check to see that the lockpins are disengaged. Manually rotate the rotary head until the leading edge of the No. 1 blade is in the aft position. Engage the rotor brake. The rotor brake pressure gauge should read a minimum of 320 psi. Check that the rotor brake light comes on. Place the collective pitch stick in the full low position and the cyclic pitch stick in neutral. Visually examine the control lock cylinder to make sure that the pin is aligned with its hole. When the controls are positioned, trip the FOLD manual override on the blade fold control valve and hold it in this position. No action should result. Release the override. Position the SAFETY VALVE switch to OPEN. Check that the SAFETY VALVE OPEN light comes on. Trip the manual override again. The dampers will position, the control lockpin will engage, and the blade lockpin will disengage. The blade will fold, and the PRI SERVO PRESS light will go off.

WARNING

Ensure that the path of the blade is clear before tripping the manual override. Failure to do so could result in personal injury or damaged to the aircraft. The cyclic control stick may have to be moved slightly around neutral to engage the control lockpin.

Check the lights on the blade fold panel. CONT LOCKPIN ADV, BLADE FOLDED, CHECK BLADE FOLD, SAFETY VALVE OPEN, AND ACCESS DR ON lights should be lighted. The BLADE SPREAD light should be off. Trip the manual override button to SPREAD. The blade will spread and the lockpin will engage. The control lockpin will disengage. The BLADE SPREAD and CHECK BLADE FOLD lights will come on. Position the SAFETY VALVE switch to CLOSED. Check to see that the SAFETY VALVE OPEN and CHECK BLADE FOLD lights go off within 1 1/2 seconds and that the FLIGHT POS light comes on. Release the rotor brake to make sure that the ROTOR BRAKE ON light goes off. Manually reposition the No. 1 blade to the right of the helicopter centerline. Position the safety valve switch to OPEN and the master switch to ON. Make sure that SAFETY VALVE OPEN and FOLD PWR ON lights come on. Check to see that the ACCESSORY DR ON light is on. The rotor brake should disengage automatically. Hydraulic pressure should disengage the blade positioner drive unit from the rotor brake disc. The final movements of blade positioning may result in a position hunting motion or chatter. If this chatter is sustained for more than 3 seconds, investi-gate the cause. Position the blade fold switch to FOLD. The No. 1 BLADE POSITION light will come on. Apply the rotor brake manually. Damper-positioners will position, the control lockpin will engage, and the CONT LOCKPIN ADV light will illuminate. The blade lockpin will retract, and the BLADE SPREAD light will go off. The BLADE FOLDED and CHECK BLADE FOLD lights will come on.

NOTE: Automatic fold cycle time is approximatey 30 seconds for the rotary-wing positioning. The normal time for damper positioning is 5 seconds, and normal time for blade folding is 27 to 41 seconds.

Make sure that the accumulator gauge on the No. 1 blade sleeve spindle maintains 3,000 psi. The damper-positioners should remain in full extended or autorotative position. The blades should remain folded. Position the blade fold switch to SPREAD, and check the reversing of operation. When the BLADE SPREAD light comes on, position the safety valve switch to CLOSED (SAFETY VALVE OPEN and FOLD PWR ON lights should then go out). Position MASTER and BLADE FOLD switches to OFF. CHECK BLADE FOLD light will go off, and FLIGHT POS light will come on. Visually check control lockpin for disengagement. Move the No. 1 blade to the left of the helicopter centerline. Repeat the automatic folding sequence. Following the hydraulic testing, inspect all components for external leakage.



Managed Security Service Provider
 


Privacy Statement - Copyright Information. - Contact Us

Integrated Publishing, Inc. - A (SDVOSB) Service Disabled Veteran Owned Small Business